Az Apple sosem volt híján a meglepő és formabontó ötleteknek, különösen akkor, ha a számítógépekről vagy az ahhoz tartozó perifériákról esett szó. Most azonban egy olyan ötletről érkeztek hírek, amely ugyan még meg sem valósult, de már sok felhasználónál kicsapta a biztosítékot.
Ebben a cikkben utánajárunk, milyen új kialakítást próbál a jövőben meghonosítani az Apple a MacBookok kapcsán. Ha érdekelnek az Apple-lel kapcsolatos érdekességek, akkor ez a cikk bizonyára érdekelni fog, így mindenképpen olvasd végig.
Billentyűzetbe épített egér a MacBookon?
Az Apple már korábban is foglalkozott egy olyan, billentyűzetbe épített egér megvalósításával, amely lényegében egy gomb a MacBook klaviatúráján, de egy egyszerű mozdulattal kivezető és egérként használható.
Még idén márciusban jelentett be a cupertinoi vállalat egy ezen a téren előrelépést jósoló szabadalmat, most azonban egy újabb szabadalmat fogadtatott el, amely a ,,Deployable Key Mouse” névre hallgat.
(kép forrása: appleinsider.com)
Ezek az egymás után történő szabadalmaztatások egyértelműen arra utalnak, hogy az Apple komolyan gondolja azt, hogy megvalósítsa a billentyűzetből elővehető egeret.
Az, hogy az Apple komolyan gondolja az egereket illető kutatásait, nem meglepő, hiszen lényegében ők népszerűsítették ezt a perifériát a számítástechnika világában.
Az 1976-os megalakulás után az Apple vezetői, Steve Jobs és Steve Wozniak egyre újabb és újabb technológiákat használt fel az új, forradalmi számítógépek megalkotásánál. Ezek egy részét azonban Jobs a Xeroxtól ,,leste el”. (Vagy ahogy sokan gondolják mai napig, Jobs a Xeroxtól lopta legsikeresebb ötleteit.)
Ha érdekel az Apple alapítójának élete, olvasd el Steve Jobsról készült portrénkat.
Az egér is egy ilyen ötlet volt, azonban az tény, hogy az 1983-as Apple Lisa megjelenése valóban mérföldkőnek tekinthető, hiszen ez volt az első személyi számítógép, ami kizárólag egérrel irányítható grafikus kezelőfelülettel rendelkezett. Az Apple Lisa végül nem aratott akkora sikert, így pár éven belül leállították a gyártását.
Az egerek hasznosságát azonban ezután már nem lehetett elvitatni, így alapvetővé váltak a számítástechnika világában.
Milyen lesz az Apple billentyűzetbe épített egere?
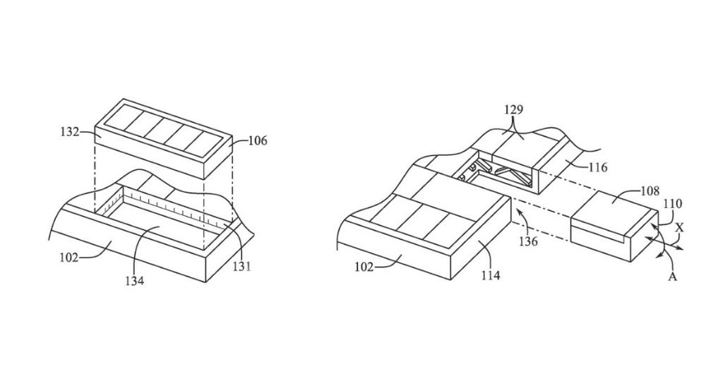
Az új szabadalom szerint egy olyan billentyűzetről van szó, amelynek az egyik gombja kivehető lesz, és az asztalra vagy az egérpadra helyezve azonnal egérként fog funkcionálni.
De nem lesz ez az egér túl kicsi?
Ahogy megjelentek a hírek, a tech fórumokon azonnal azt kezdték el ,,kiabálni” az olvasók, hogy ez az egér csak arra lesz jó, hogy elhagyják a felhasználók.
A szabadalomban látott képek alapján valóban azt lehet mondani, hogy ez az egér túlzottan kicsi lesz, így még az Apple egy korábbi ötleténél, a megvalósításig jutott ,,Hokikorong” egérnél is kényelmetlenebb lesz.
(kép forrása: appleinsider.com)
A szabadalomban azt írja az Apple, hogy a hordozható számítógépek esetén óriási segítséget nyújt az egér, de a felhasználóknak sok gondot jelent az, hogy magukkal kell vigyék ezeket az eszközöket is, így a billentyűzetbe épített egérrel lehetne kiküszöbölni ezt a problémát.
A trackpad nem erre lett kitalálva?
A tanulmányban szó esik arról is, hogy ez az új egér nem váltaná ki a Trackpadot, tehát nem az a cél, hogy a billentyűzet alatt található érintős egér megszűnjön.
Kiegészítőként azonban jó szolgálatot tehet, hiszen vannak olyan munkafolyamatok – képszerkesztés, grafikai programok használata – amelyek során a perifériás megoldások sokkal jobb és kényelmesebb opciót biztosítanak.
Jó ötlet, csak rengeteg a megoldandó probléma
Első hallása roppant meredek ötletnek tűnik az Apple új szabadalma, összességében azonban van benne potenciál.
Ha belegondolunk, ez semmiben nem különbözik attól, ahogy például a Samsung S-pen tartozékként megtalálható egyes okostelefonoknál.
Az jelenthet egyedül gondot, hogy itt amíg a billentyűzetben van ez az eszköz, addig egy gombként funkcionál, így ha elhagyjuk, akkor hiányos marad a billentyűzet, ami viszont kellemetlen, ugyanis így esetleg nem tudunk majd bizonyos dolgokat végrehajtani a MacBookon.
Emellett pedig amikor egérként használjuk, akkor értelemszerűen nem csatlakozik a géphez, így saját áramforrással is rendelkeznie kell, viszont mivel a szerkezet mérete meglehetősen kicsi, így nem valószínű, hogy nagy akkumulátor kerülhet bele.
Sok tehát a kérdés az Apple új egerével kapcsolatban, és nem valószínű, hogy 1-2 éven belül találkozunk vele, de a jövőben nem elképzelhetetlen ez a koncepció. Ehhez persze sok mindent meg kell oldania a fejlesztőknek.
Neked mi a véleményed a cikkben leírt egérről? Mennyire tartod elképzelhetőnek, hogy az Apple megvalósítja ezt a terméket? Válaszodat írd meg nyugodtan kommentben!
Tervezd meg az idődet, ne állj sorba!
VIP szolgáltatás. VIP ügyfeleknek.
Válassz egy szabad időpontot, és soron kívül intézzük a hibás készüléked javítását
Válaszd a kényelmet, intézd a szervizt otthonról!
Ki sem kell mozdulnod otthonról ahhoz, hogy hibás készüléked megjavítsuk. Jelezd felénk igényed, és hozzuk-visszük megjavítva.
Többet a szervizfutárról »






