Új töltőkábelen dolgozik az Apple?

2022.06.10 0 hozzászólás 853 olvasás
Új töltőkábelen dolgozik az Apple?

Az Apple benyújtott egy szabadalmat egy újfajta töltőkábelre, ami strapabíróbb lehet a mindennapokban, mint a jelenlegi Lightning kábel. Nézzük meg, miben lehet más kívül és belül!

Az Apple telefonjai mindig csúcskategóriásnak számítottak, és sok szempontból úttörőek a techvilágban, mégis a dobozban található ( vagy a legutóbbi modellek esetében nem található) Lightning töltőkőbel gyakran egy-két év után megtörik, a műanyag borítás szétfoszlik, az a fehér felülete pedig megsárgul.

Fehér iPhone töltőkábel Lightning USB végződéssel, fehér háttér előtt

(kép forrása: apple.com)

 

Úgy tűnik, hogy az Apple a felhasználói visszajelzésekre reagálva fejleszteni fogja a töltőkábelt, ugyanis benyújtottak egy szabadalmat, egy úgynevezett “Cable with Variable Stiffness”-ről, vagy olyan kábelről, aminek változó merevsége van. Ez a megoldást azt takarja, hogy a kábel egyedi módon ötvözi a rugalmasságot és a merevséget a teljes kábel hosszában,, ami elméletben véd a töredezettség ellen, és a hajlítás sem fog problémát okozni.

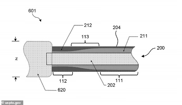
Új Apple töltőkábel műszaki rajza, fehér háttér előtt fekete, szürke rajz, számokkal és nyilakkal

(kép forrása: uspto.gov)

 

A kábel telefonba csatlakozó végénél lévő különálló műanyag fej eredetileg azt a célt szolgálja, hogy megvédje a töréstől és a meghajlástól, viszont az kábel így hajlamos foszladozni. Az koncepció szerint ez a műanyag vég nem kerül rá, és egy egységes vastagságú kábelt kapunk.

Maga a szabadalom benyújtása még nem jelenti azt, hogy biztosan el is készítik ezt a változatot, és a koncepcióterv szöveges leírásában nem szerepel a “Lightning” kifejezés, de mindenképpen biztató előjelnek tekinthetjük, és azt sugallja, hogy az Apple foglalkozik a sok felhasználót érintő problémával.

Veletek is fordult már elő, hogy rövid idő alatt tönkrement egy iPhone töltőkábel? Ha igen, akkor újat vettetek, megjavíttattátok, vagy egy másik gyártó termékével pótoltátok?

Süti beállítások

A hatékony navigáció és bizonyos funkciók működésének érdekében sütiket használunk.
A "Szükséges" kategóriába sorolt sütiket a böngésző tárolja, mivel ezek elengedhetetlenül szükségesek a webhely alapvető funkcióihoz.
A harmadik féltől származó sütik segítenek a weboldal használatának elemzésében, tárolják a preferenciáidat és releváns tartalmakat és hirdetéseket biztosítanak.
Ezeket a sütiket csak az előzetes beleegyezéseddel tároljuk a böngésződben. Eldöntheted, hogy engedélyezed vagy letiltod ezeket a sütiket, de bizonyos sütik letiltása befolyásolhatja a böngészési élményt.